自从2014年,Apple Watch 首次亮相以来,它的外观设计就一直没有啥变化。
虽说识别度是很高,但长此下去,难免会让人审美疲劳。
这不,苹果自己也看不下去了,终于要对其下手了。
那 Apple Watch究竟会改成什么样子呢?
绝对出乎你的意料。
不仅配上了带摄像头的屏幕,而且还可以翻盖折叠打开,甚至,整个表盘还能够取下来……
简单来讲的话,那就是有点儿小天才电话手表的既视感。
当然,这也不是空穴来风。
而是来源于苹果最新的一项可折叠手表专利,或称为“可穿戴电子设备”。
其详细介绍了未来 Apple Watch 的设计。
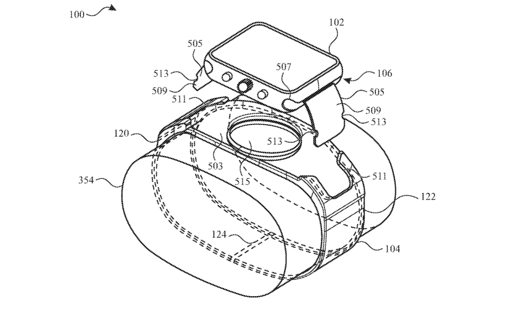
手表将由主要两部分组成,分别是一个固定底盘和一个可移动框架。
其中,固定底盘上连接着一条表带,而可移动框架上有一个可折叠的表盘。
也就是说,它配有两个屏幕。
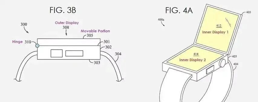
同时,两个屏幕通过铰链相连,类似于过去翻盖手机的设计。
如此一来,表盘就可以折叠打开。
并且,开合的角度也能够随意调节。
最大打开的角度为180度,也就是可以完全展平。1.1
看到这里,也许你要说了,用一块柔性屏幕折叠不香吗?
当然,这也没有问题。
专利中也表示,两块屏幕可以是连续的,即采用一块折叠屏。
只不过,还有等到技术再成熟些,彻底能消除掉那一道折痕才好。
而只有屏幕能折叠还不够,其固定底盘的部分还可以自由旋转。
向左或者向右转动都行,它的最大旋转角度为90度。
值得一提的是,当在不需要打开表盘的时候,合上屏幕,它就变成了一块传统的 Apple Watch。
这是因为上面的折叠屏幕有两面:一面是正面的显示屏,另一面是背面的显示屏,并配有 光学传感器,所以它可以在打开和关闭之间切换显示内容。
除此之外,这块折叠屏幕上还配有两个摄像头, 一个朝外,另一个朝内。
其用途也很好理解,它们就像是普通智能手机上的后置摄像头和前置摄像头。
你可以通过屏幕的开合来调节摄像头的角度,这样一来,方便你拍照或者进行视频通话。
是不是,更像是小天才了?
这还没完,苹果还要搞个磁吸表带的设计。
即在表盘外壳有嵌套机构和可释放或固定的连接部件,使用闩锁和磁吸感应器,方便自由拆装。
如此,你就可以把整个表盘拿下来,当作一个微型的折叠手机使用。
无论是接打电话,还是用它拍照或者录视频,都信手拈来。
可谓是,一改 Apple Watch 只能作为健康监测穿戴设备的局限性,让手表拥有了更强大的功能。
只不过,这样的 Apple Watch 何时能推出还未可知。
毕竟苹果每年都会申请数百项专利,但其中只有不到 1% 才会真正转化为实际产品。
尽管如此,随着有关 折叠屏 iPhone 将要推出的消息越来越多,估计折叠屏的 Apple Watch 也是早晚的事儿。
在求变的路上,苹果这牙膏挤的确实有点慢 ……
继续滑动看下一个
全是创新
向上滑动看下一个